Dynamic Balloon

Introducing three types of Dynamic Balloon systems, which are celebratory design concepts rooted in delight, creativity, and smarter engineering.

Our Character Balloons are incredible in that they may take on the actual shape, image, and life of your children’s favorite television characters, whether animated or real.These are “toy” Character Balloons, and as you can see above and below, they may have movable appendages, such as arms and legs, which are designed to shift forward or backward, allowing these Character Balloons to mimic gestures such as waving. Once positioned, they stay in place until the user adjusts them again. The direction of these appendages also affects how the balloon “flies” when pulled or when wind pushes against it. For example, the yellow and red balloons below may lean or “fly” to the right because their left arms are forward and their right arms are back, causing the balloons to tilt slightly in that direction, while the blue balloon moves straight since all its limbs are aligned forward. They may also be ‘dressed up’ with capes, which may be added or integrated (see below right).

Lighter-than-air Character Balloons may self-rotate in a couple of ways. One way is to place an item into a pouch located between the arms and in front of the body. When empty, the balloon stands upright, but adding weight causes it to tilt naturally into a flying position. For example, on Halloween, a child dressed to match their Character Balloon walks to a doorstep, the balloon standing erect in still air; after “trick or treat,” one candy goes into the child’s bag and another into the balloon’s pouch, where the added weight automatically shifts the balloon into the flying posture, allowing the child to return to their parents, drop off the candy, and repeat the process.

PRODUCT FEATURES & BENEFITS OF CHARACTER BALLOONS:

Special Features

  • Action balloons

  • Flying balloons (Direction manipulation capable)

  • Transformation capabilities

  • Up to two characters printed per balloon (One on     each side)

  • Helium or air-filled

PRODUCT INFORMATION:

PRODUCT FEATURES & BENEFITS OF GREETING CARD BALLOONS

Special Features:

  • Action balloons

  • Spinning capabilities

  • Transformation capabilities

  • Used in lieu of greeting cards

  • Increased WOW factor compared to paper cards

  • May be written and drawn on for personalization

  • May be made in many shapes, such as a bird opening its wings to reveal the inner messages.

Dynamic Balloons bring playful engineering into the moments that define celebrations, from birthdays, graduations, and baby showers to hospital visits where something floating overhead can instantly lift a person’s spirits. With simple parts, expressive shapes, motion-friendly balance, and designs built for interaction, they offer manufacturers a flexible product format to integrate characters and themes into and give customers a more memorable, imaginative arrangement—one that feels personal, uplifting, and purpose-built for today’s vibrant event culture.

To broaden personalization and manufacturing versatility, our Character Balloons, Spinning Balloon designs, and artistic inflatables can be produced in both lighter-than-air and heavier-than-air configurations, similar to how modern latex, foil, bubble, and LED balloons each serve different aesthetic and structural needs in today’s party industry. The heavier-than-air models are the pragmatic backbone of the system, economical to fill, free of helium dependency, and inherently stable, eliminating the risk of drift or accidental release. Their physical weighting and form make them uniquely suited for costume-driven moments like Halloween celebrations, theme-park visits, and events where characters become part of a child’s personal story.

PRODUCT DETAILS:

The Dynamic Balloons line features an imaginative collection of high-quality Mylar balloons designed to be fun, colorful, and full of personality. Crafted from durable, lightweight printed Mylar, each balloon showcases vibrant colors, crisp graphics, and a glossy finish that makes every design pop. Precision-engineered valves allow for easy inflation and sealing, ensuring dependable performance and effortless reuse. These balloons can be made lighter than air for floating displays or for moving objects from one location to another, or heavier than air when a customer wants the same great look with less risk of the balloon drifting away, inexpensive refilling with air, and increased action of a character taking off from the ground and rising into the air.

Every Dynamic Balloon features a main section that provides lift or stability, depending on whether it’s designed to float or, at times, be grounded, along with a connected movable element that rotates, tilts, or reacts playfully to airflow or gentle tugging. Flexible connectors or tethers allow these pieces to animate with lifelike motion, creating gliding, waving, bobbing, or spinning effects, enhanced by rotating arms, fins, or other motion-friendly parts, and sometimes small pouches, which may be added for additional controlled movements and balloon action. This design ensures that the heavier-than-air versions can double as interactive ground toys, with heads that nod, arms that wave, and legs that kick, offering far more playing options than a traditional balloon while remaining safely and reliably earthbound.

Optional sound features such as whistles or compact battery-powered modules add another layer of delight, making these balloons perfect for celebrations, themed events, and imaginative play. Whether designed to float gracefully or stay delightfully earthbound, Dynamic Balloons bring movement, color, and joy to every occasion.

Materials needed to produce the Dynamic Balloons

  • Printed Mylar

  • Valves

Both lighter-than-air (helium-filled) and heavier-than-air (air-filled) Character Balloons may also self-rotate by pulling them or adding wind from a fan, where the air causes the balloon’s body to reposition to a substantially perpendicular orientation compared to the head. For example, the heavier-than-air (air-filled) alien balloon below may be standing on the ground, but when the tether is pulled, the wind pushes its body back to appear as if the alien is flying. Skeletons may represent El Dia de los Muertos for cultural occasions, as another example. The result: FUN!

Our Spinning Balloons have various types, such as single-fin designs, which may be decorated with fun characters for play, with national flags or team emblems for team or country spirit, or made with designs that dazzle the imagination.

Spinning Balloons may have almost any number of fins. They may be plain like those shown below, or they may be decorated to your designer’s delight. Whatever these balloons look like, the person receiving them will not be disappointed because they don’t just float—they MOVE!

PRODUCT FEATURES & BENEFITS OF SPINNING BALLOONS:

  •  Fully customizable front and back surfaces support different designs for designer freedom

  • Helium or air-filled

Spinning Balloons may have almost any number of fins. They may be plain like those shown below, or they may be decorated to your designer’s delight. Whatever these balloons look like, the person receiving them will not be disappointed because they don’t just float—they MOVE!

Spinning Balloons may also rotate along their length. The appendages are bent to cause rotation when the balloon is pulled or placed into the wind.

The Spinning Balloons allow for endless themed designs from dolphins, whales, and seals that appear to jump as they spin, to ghosts for Halloween, leaves for fall, or national flags for holiday celebrations. They can feature sports team emblems for any level of play and can also support fundraising events, promoting causes such as children’s hospitals and other charities.

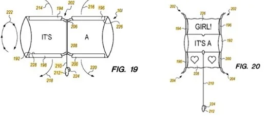
In a category of its own, our Greeting Card Balloons are intentionally crafted as lighter than air, embracing the same inspiring levity that first transformed rubber balloons from science to celebration nearly two centuries ago. Each balloon integrates with a decorative element positioned below it, creating a composed, single-arrangement structure that feels intentional, polished, and visually balanced while still playful enough to sway with soft, friendly motion.

Greeting cards have a long-standing and respected position to let people know that you care, to make them laugh, to celebrate special times with them, and to acknowledge them, to name a few. With modern greeting cards in the $5 to $10 range, an option is to give that special person a Greeting Card Balloon, which extends the emotional effect desired. These balloons may be adorned with any saying and written on or signed by the sender. Greeting cards have thrived in comparison to e-cards as a testament to their unwavering popularity over a long period of time.   

The Dynamic Balloon™ can elevate your product portfolio to new heights. We are seeking a long-term arrangement with a company to manufacture, market, and/or distribute this new technology based on the acquisition of the intellectual property rights . Contact us below

Contact Us

Our VP of Business Development, Amy Schleicher, is ready to answer any questions you may have.

Phone: 913-201-8025

E-mail: Amy@bankonip.com

Patent Information

Inventor Highlight

David Simonsen is an innovative creator with a strong background in manufacturing, fabrication, and installation of building envelope and façade systems from structural framing to diverse rainscreen cladding types, including weather barriers and sub-framing systems. His inventive work spans multiple industries, including construction, renewable energy, and medical products.

David has developed intellectual property in residential, commercial, and prefabricated construction systems, as well as advanced renewable technologies such as building-integrated photovoltaics (BIPV), and complete PV framing systems for solar farms and canopies. Driven by a passion for practical innovation, he continues to design and refine solutions that bridge technical expertise with sustainable advancement.

Social Media

Follow us in real time! Stay connected.

There’s a way to do it better—find it
— Thomas Edison