Helicopter Flight Support

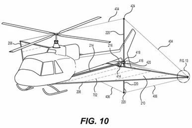
The Helicopter Flight Support system is a self-contained, deployable structural assembly engineered to mount beneath helicopters or on top of airplanes, ultralights, autogyros, drones, and virtually any type of flying craft. The system consists of outward-deploying outer and inner support arms that unfold through synchronized pivot articulation to form a singular, planar, wing-style framework (Fig. 10).

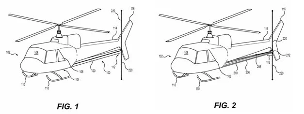
The main body of the system is housed within a durable, tapered, two-piece cylindrical cover constructed from mating C-shaped shell panels that overlap along a locking lip interface (Fig. 1). The modular wing backbone is formed from rigid, lightweight flight-grade support segments built for mechanical folding geometry and cable-supported skeletal tensioning.

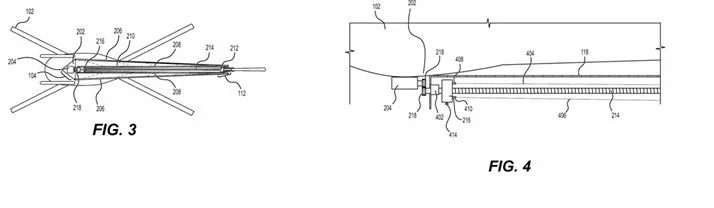
The system includes an integrated motor mounted beneath or above the aircraft that drives rotation in a threaded central shaft. This threaded shaft is mechanically coupled to the bottom of the helicopter’s frame and connects directly to the wing support expansion assemblies. As the shaft rotates, it moves along its threading, guiding both outer and inner supports outward in a synchronized mechanical path until fully extended (Fig. 3 and 4).

The interior framework of the wing assembly contains a network of embedded support cables positioned between the rigid panel segments (Fig. 7). These cables run the length of the wing’s internal frame and anchor into the main structural ribs (Fig. 8 and 9).

At each outermost tip of the wing are two smaller support cables, one mounted above and one mounted below, terminating at the wing extremities (Fig. 2). The entire Helicopter Flight Support system is a self-contained assembly distinct from the helicopter’s primary build (Fig. 1).

Special Features

●        Deployable wing-like structure from the underside of the helicopter

●        Motor-driven threaded shaft that moves a deployment block linearly

●        Anti-rotation track system for precise linear movement

●        Dual-layer fabric wing with embedded tension cables

●        Hub-converging cable system for structural integrity

●        Paired upper and lower tip cables for lateral stability

●        Fully enclosed protective cover that doubles as a lift surface

●        T-shaped wing bracket connecting pivoting supports

●        Easily installed on top of other flying crafts

 

PRODUCT FEATURES & BENEFITS

PRODUCT DETAILS

The Helicopter Flight Support system is a stand-alone emergency lift and stabilization kit that mechanically attaches beneath or above an aircraft (depending on the type of the craft), forming a deployable airframe of structural arms, tension cables, and aerodynamic fabric surfaces. Unlike built-in flight control or air-bag recovery concepts, it is an external mechanical wing deployment module that mounts between the landing skids at the front and the tail section at the rear of a helicopter or above an air craft.

The stowed assembly is enclosed in a cylindrical protective shell that houses pivot joints, a threaded drive shaft, ball-bearing anchors, gears, and cable channels. The core framework consists of folding outer and inner supports, linked through pivot pins, and a central motor-driven shaft that advances a slide block connected to both sides of the wing bracket. The wing surface is made of layered nylon aviation fabric with internal load-sharing cables routed through articulated support segments and converging at a rear bearing hub anchor.

The Helicopter Flight Support system benefits helicopters and any other flying crafts by providing an independent structural wing and cable network that can be installed without modifying the original engineering of the aircraft. When deployed, the wing frame becomes a mechanically synchronized, symmetrical underside structure that introduces horizontal balance, tensioned load distribution, and articulated structural extension.

The internal support cables hold the wing frame taut between segments, while stability tubes and integrated pulleys route and maintain cable alignment along the underside. The front bracket houses the main pivots that support wing folding articulation, while the rear bearing hub serves as a single structural anchor point for the converging support cables. Because the assembly is completely aircraft-independent, it can also be adapted for other air and land craft with skid-style or frame-underside mounting points, making it a cross-platform kit rather than a helicopter-exclusive part. 

Similar systems or components would interest manufacturers, aviation engineers, prototype labs, and safety-systems buyers across both commercial and experimental aerospace markets, including companies that specialize in aircraft recovery modules, crash-mitigation hardware, airframe accessories, and emergency aerodynamic deployment systems. Early-stage adopters would include aerospace prototype manufacturers, custom airframe shops, aviation safety engineers, and customers in commercial rotorcraft development and defense R&D procurement.

Organizations with parallel engineering profiles include companies such as Bell Textron and defense technology designers like Lockheed Martin. Certified testing and materials partners that could later intersect production validation include standards bodies such as ASTM International and engineering simulation ecosystems, including Dassault Systèmes.

Materials needed to produce the Helicopter Flight Support:

  • Aluminum tubing

  • Carbon fiber sheet

  • Mold‑grade ABS plastic pellets 

  • Ball bearings

  • Steel gear blanks

  • Stainless steel pins

  • Skid‑to‑frame bracket plates

  • Threaded actuator rod stock

  • Vertical stability support tube stock

  • Nylon ripstop fabric

  • Woven Terelyne fiber bolts

  • Braided steel cable rolls

  • Stainless braided cable rolls

  • Pulley wheel blanks

  • Industrial UV‑resistant thread

The Helicopter Flight Support can elevate your product portfolio to new heights. We are seeking a long-term arrangement with a company to manufacture, market, and/or distribute this new technology based on the acquisition of the intellectual property rights . Contact us below

Contact Us

Our VP of Business Development, Amy Schleicher, is ready to answer any questions you may have.

Phone: 913-201-8025

E-mail: Amy@bankonip.com

Patent Information

11,905,022

Inventor Highlight

Schain Lotatchy’s fascination with flying machines and mechanical systems began at age nine after receiving a book on Leonardo da Vinci, inspiring decades of designing and building crafts with an engineering-first mindset. Schain studied aircraft engineering, later pivoting careers before graduating, while maintaining his ability to instinctively identify structural and mechanical solutions to complex problems.

His work culminated in an underside-mounted helicopter flight support concept refined through years of iterative prototyping. The design evolved into a self-contained, self-sufficient system engineered to operate independently from the aircraft’s primary build. The system is minimalist, part-efficient, and mechanically driven through linear threaded actuation and synchronized pivoting support arms that expand into a unified fabric wing structure.

Social Media

Follow us in real time! Stay connected.

There’s a way to do it better—find it
— Thomas Edison