Sea Eyes Boat Drone

For fishing enthusiasts and marine researchers alike, locating aquatic life has always involved a combination of skill, patience, and luck. But what if technology could tip the odds in your favor—bringing precision and autonomy to your aquatic explorations? Enter the Sea Eyes Boat Drone, a groundbreaking solution designed to transform how we monitor and detect fish and other underwater life.

The Sea Eyes Boat Drone is a specialized maritime tool built to navigate tight waterways and narrow channels with precision and ease. Its design allows for smooth movement and accurate depth control, making it ideal for tasks that require careful maneuvering in confined aquatic environments. Whether used to track elusive fish schools, inspect underwater structures, or conduct detailed surveys, the Sea Eyes Boat Drone offers the reliability and accuracy needed to operate effectively where space is limited and conditions are complex.

 Whether you’re trolling for sport fish or conducting scientific aquatic studies, the drone provides an unmatched ability to explore beneath the surface—without the need to physically dive or deploy cumbersome sonar arrays.

Completely autonomous, the Sea Eyes Boat Drone requires no manual control to operate. It hovers above the water, relaying real-time information, mapping environments, and assisting in various operations, including search and rescue missions. Additionally, the Sea Eyes Boat Drone excels in infrastructure inspections, monitoring seaports, bridges, and tide levels to ensure navigation safety and efficiency.

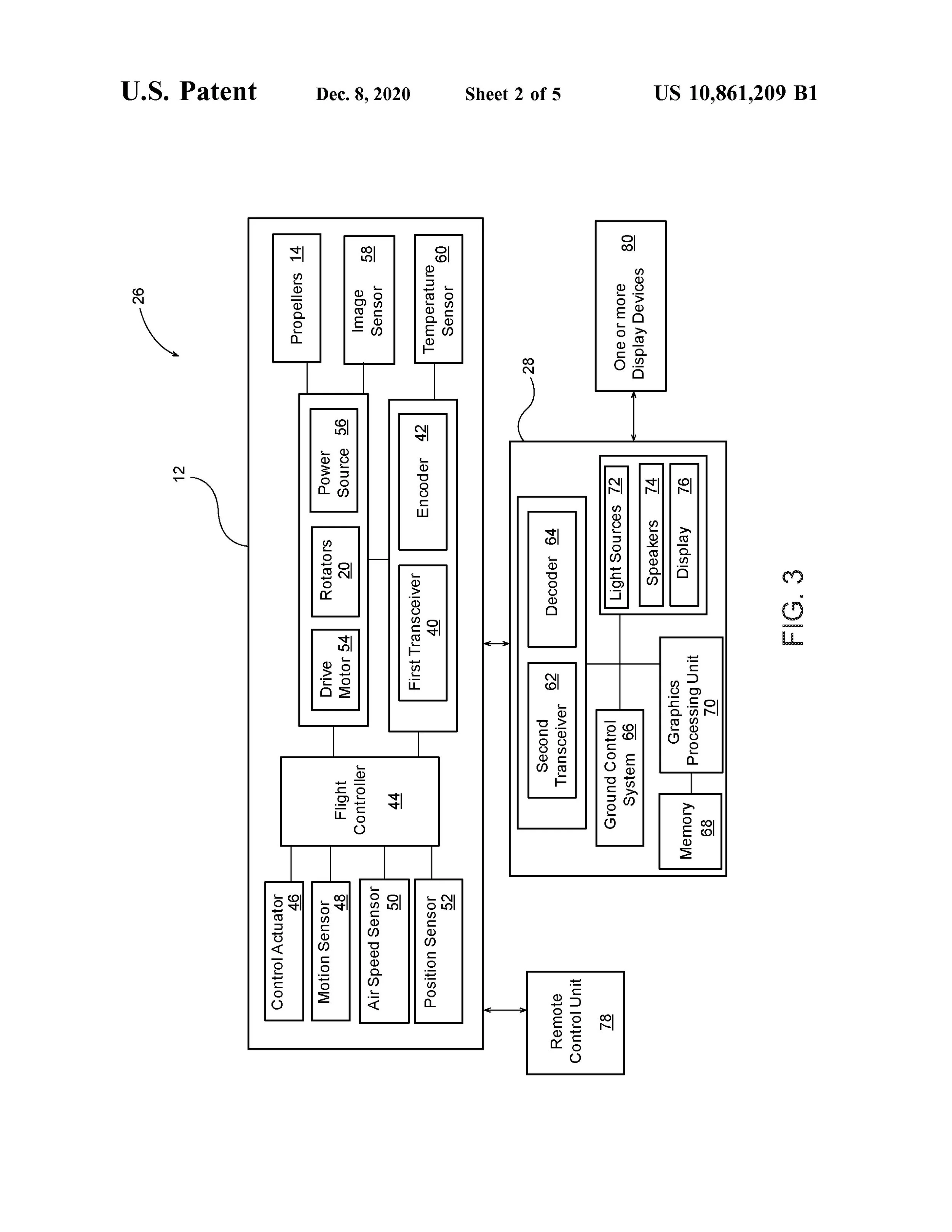
 The drone’s high-resolution imaging sensors and first transceiver detect environmental changes and transmit data to a base unit, which processes it into detailed 3D animations and precise virtual maps. This capability makes the Sea Eyes Boat Drone an indispensable tool for applications such as search and rescue, where it locates individuals in distress, and fishing, where it provides offshore fishermen with an aerial perspective to identify fish.

PRODUCT FEATURES & BENEFITS

Special features

●        Water-Resistant Sealing and Protection

●        Efficient Data Encoding and Transmission

●        Dual-Transceiver Communication System

●        Lightweight, High-Strength Materials

●        Interactive Ground Control Interface

●        Image Sensor Technology

 

PRODUCT DETAILS

Designed for durability and performance, the Sea Eyes Boat Drone is constructed with lightweight plastics and durable polymers. Key materials include copper for electrical connections, aluminum and steel for structural integrity, and salt-resistant epoxies to protect sensitive electronics.

Its components are engineered for optimal functionality to enhance navigation and safety. The drone is equipped with navigation lights: a left red light and a right green light, providing clear directional signals.

Additionally, a small strobe light placed on the bottom will make the drone easier to spot from long distances, improving visibility. High-resolution glass sensors capture detailed visuals of the water surface, while the drone’s interactive visualization capabilities allow users to analyze data through real-time 3D renderings.

The Sea Eyes Boat Drone combines cutting-edge technology with practical applications, offering unmatched advantages to fishermen, rescue teams, and infrastructure managers. With its autonomous operation, advanced imaging, and maritime resilience, the Sea Eyes Boat Drone is a transformative tool for monitoring, mapping, and ensuring safety over water.

Materials needed to produce the Sea Eyes Boat Drone:

●        Polymers

●        Rubber

●        Copper

●        Aluminum

●        Magnets

●        Steel

●        Bearings

●        Circuitry

●        LEDs

●        Solder

●        Glass

●        Epoxies

The Sea Eyes Boat Drone can elevate your product portfolio to new heights. We are seeking a long-term arrangement with a company to manufacture, market, and/or distribute this new technology based on the acquisition of the intellectual property rights . Contact us below

Contact Us

Our VP of Business Development, Amy Schleicher, is ready to answer any questions you may have.

Phone: 913-201-8025

E-mail: Amy@bankonip.com

Patent Information

Patent 10,861,209

Inventor Highlight

Mr. Michael G. Bruce holds United States Utility Patent No. 10,861,209, filed on Nov. 8, 2018, and issued on Dec. 8, 2020. This patent for the Sea Eyes Boat Drone expires in Nov. 2032, commensurate with the filing date. This patent has 10 claims that protect the exclusive design and/or function of the Sea Eyes Boat Drone.Driven by a love of working with his hands, Layne enjoys building and creating, carrying a lifelong dream from fourth grade of calling himself an inventor. Beyond his professional life, he dedicates significant time to volunteering at his church, a commitment he embraces with enthusiasm, enjoying the camaraderie and shared purpose of working alongside wonderful people

Social Media

Follow us in real time! Stay connected.

The great growling engine of change – technology
— Alvin Toffler