The Dataset™

The Dataset™, a newly patented technology available for licensing. According to the U.S. Census Bureau data from the American Community Survey in 2021, at least 81% of American households had at least one desktop or laptop computer. It is estimated that up to 99% of businesses now utilize computers in their day-to-day proceedings. An unquantifiable amount of data is stored and transferred between these devices daily. Poor security, corrupt files, and lack of backup storage often compromise the data transfers between devices, as well as the safety and longevity of the stored files. It is impossible to know by looking at your external storage device whether there is room for a new transfer, or whether the saved data is corrupted.

The Dataset™ offers a simple and affordable solution to storing and transferring data. Born from Steven Mazurek’s experience as a PC technician, The Dataset™ delivers a smart, seamless solution to a common frustration: the ability to instantly check your USB device’s remaining capacity without ever plugging it in. Gone are the days when you must plug in device after device to check the storage; now you can instantly see if there’s enough space for your vacation photos or that critical work presentation. The technology of The Dataset™ not only saves you time but also provides data security. The full color touch screen allows the user to set a PIN to protect the saved data and includes a self-diagnostic program that warns the user if the saved data is corrupted. The Dataset™ is a reliable, budget-friendly, and user-friendly data storage solution, ideal for both home users and businesses.

PRODUCT FEATURES & BENEFITS

Special features

  • Full color touch screen that displays memory space and power storage

  • Security PIN feature for added data security

  • Self-diagnostic program to alert users to problems with the device

  • Dual storage capacity to house both data storage and diagnostic programming

  • Retractable USB connector for ease of use

  • Rechargeable lithium polymer battery

  •  Affordable price point

  • Versatile and user-friendly

  • Full color touch screen that displays memory space and power storage

  • Security PIN feature for added data security

  • Self-diagnostic program to alert users to problems with the device

  • Dual storage capacity to house both data storage and diagnostic programming

  • Retractable USB connector for ease of use

  • Rechargeable lithium polymer battery

  • Affordable price point

  • Versatile and user-friendly

 

PRODUCT DETAILS

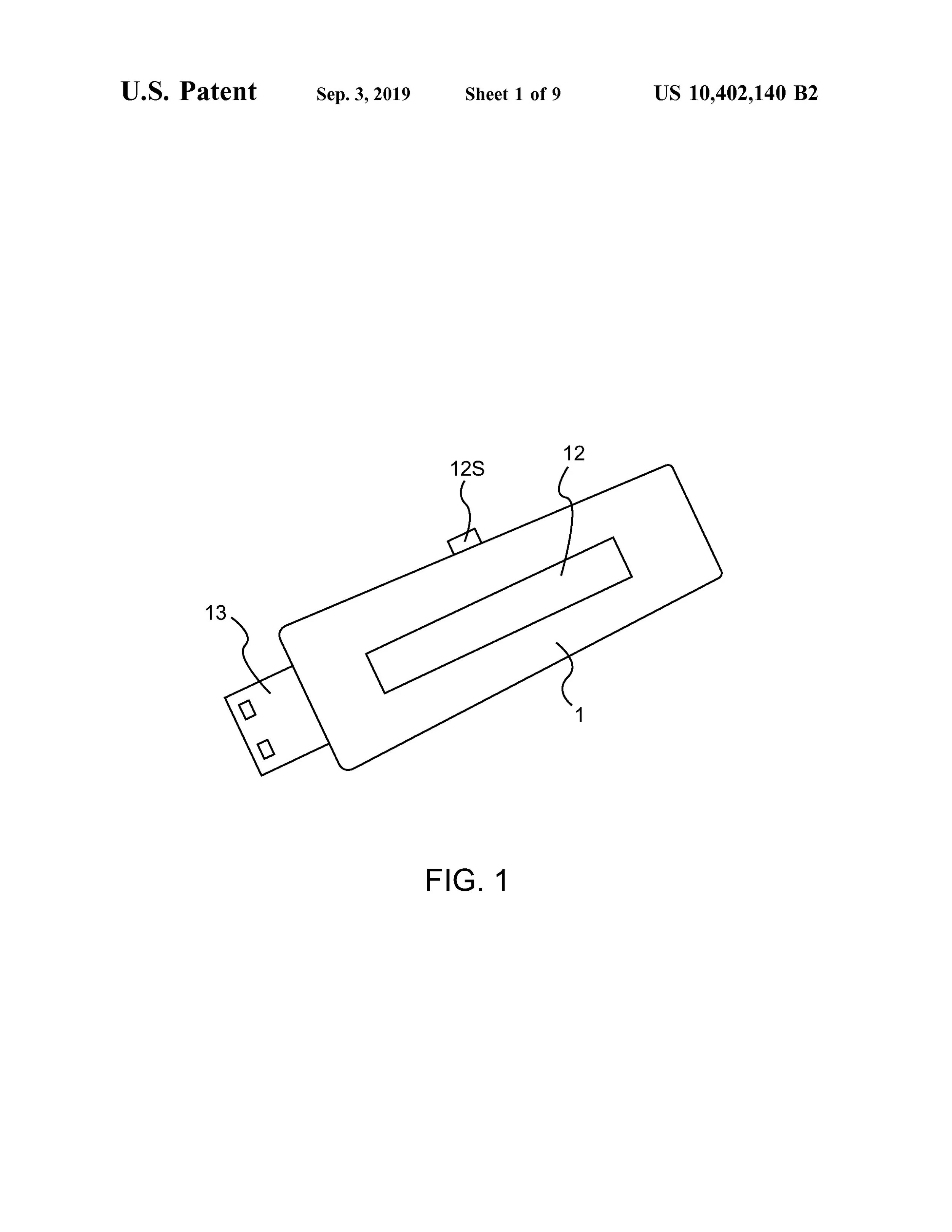
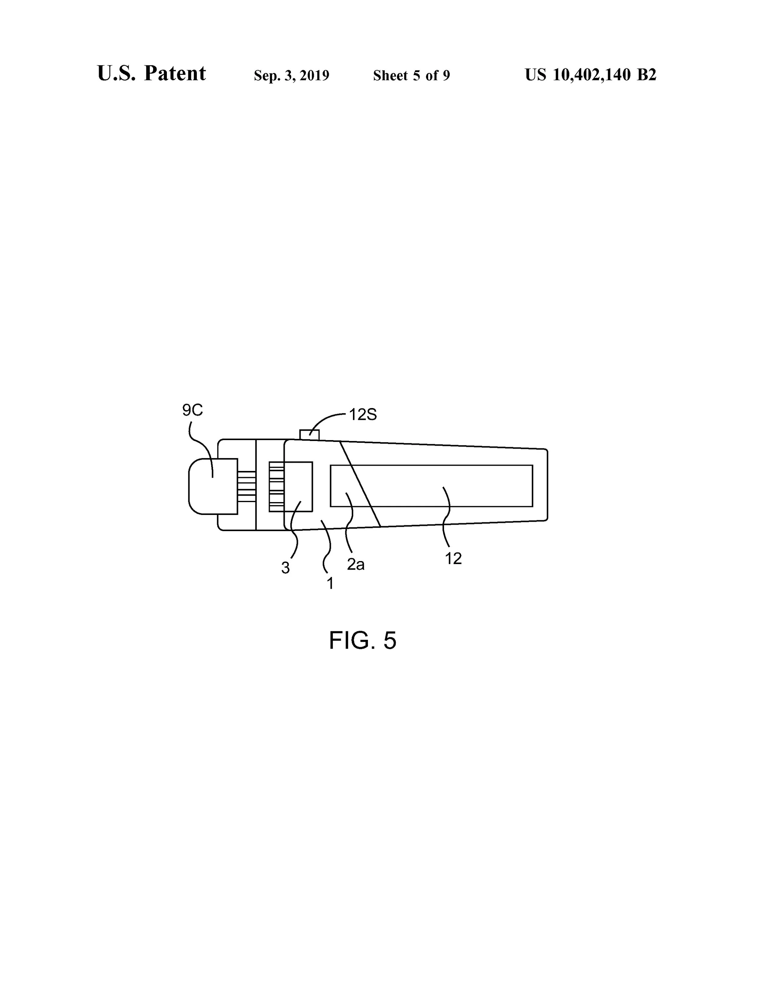
The screen allows the user to swipe left or right to access the information needed. When powered up, the display screen will show a series of colored bars which indicate the amount of available space on the device, rather than the amount already used. These colored bars can also be used as a progress bar to indicate the progress or completion of the data transfer. A swipe can show the USB drive’s total capacity, another leads to the ‘Settings’ icon, where the user can customize several features and access the self-diagnostic program. The USB flash drive may also display the amount of space in text form, as well as numeric form in total GB or percentages. The user may determine the amount of time to set before the device automatically powers down, while the touch screen can be pressed down to power the device back on.

The Dataset™ is a portable storage solution designed to enhance data protection and user experience. Featuring a full-color touch screen, The Dataset™ allows the user to check storage space and data integrity without the need to connect the device to a computer or separate processing device. This USB flash drive can be built with either an LCD or AMOLED screen, depending on production costs and the needs of the manufacturer. The retractable USB connector ensures hassle-free connectivity while keeping your port protected when not in use, making it perfect for professionals and students alike.

The Dataset™ was created to support basic data storage needs, while providing additional security measures and peace of mind. Built with advanced data protection, this device includes a customizable security PIN feature, ensuring that your files are safe from unauthorized access in the event the drive is lost or stolen. A simple swipe of the full color touch screen leads to a digital keypad for PIN protection. The four-digit PIN can be created from a combination of more than ten thousand options, using digits zero through nine. The memory chip includes a separate storage space which houses a built-in self-diagnostic program that continuously monitors device performance and alerts you to any issues before they become problems. This feature helps the user determine whether it is safe to keep their data stored on that device, or whether they need to transfer it to a different device to protect it from damage or corruption. The Dataset™ has dual storage capacity, allowing it to store both your valuable data and the device’s diagnostic tools without compromise.

Materials needed to produce the The Dataset™:

-Injection molded plastic for housing

-Retraction mechanism

-Small spring for retraction mechanism

-Printed circuit board with flash-based memory chips

-Small, rechargeable battery

-LCD or AMOLED screen, 38.1 mm diagonally

-Dedicated chip to house storage calculation programing and video display

The The Dataset™ can elevate your product portfolio to new heights. We are seeking a long-term arrangement with a company to manufacture, market, and/or distribute this new technology based on the acquisition of the intellectual property rights . Contact us below

Contact Us

Our VP of Business Development, Amy Schleicher, is ready to answer any questions you may have.

Phone: 913-201-8025

E-mail: Amy@bankonip.com

Patent Information

Patent :

10,402,140

Inventor Highlight

As a former big box technology store employee (both on the sales floor and later as a PC technician), it was Steven’s job to help customers achieve their technological goals by providing solutions with product suggestions that met their needs.  As a PC technician, having to plug in storage devices to the nearest computer just to determine its remaining capacity wasn’t always a viable option.  Thus, the Dataset was born; a device that could tell the consumer, without having to connect it to a computer, how much storage capacity was left on the device with a simple touch of its screen.

Social Media

Follow us in real time! Stay connected.

Ideas won’t keep. Something must be done about them.
— —Alfred North Whitehead