Transport Vehicle with an Expandable Cargo Bay™

The Transport Vehicle with an Expandable Cargo Bay™ was developed to meet the demands of the cargo market head-on. Featuring a multi-axis expandable cargo bay that adjusts in height, width, and length, this product can transform its capacity to match nearly any load. Powered by hydraulic actuators with a centralized push-button control panel, it allows operators to expand or retract the cargo space in minutes. Its modular compartments and precision guide rail system provide secure, customizable configurations, while the galvanized steel-grade housing ensures long-term durability against rust and harsh conditions. Designed to be both scalable across truck classes and versatile for commercial and military use, the Transport Vehicle with an Expandable Cargo Bay™ reduces downtime, streamlines fleet operations, and even offers a design ideal for toy and model applications.

PRODUCT FEATURES & BENEFITS

Special features

  •   Multi-axis expandable cargo bay that extends in height, width, and length for maximum load flexibility

  • Hydraulically powered actuators for smooth, rapid deployment and retraction under load

  • Centralized electronic control panel with push-button operation

  • Modular design with expandable and sub-expandable compartments for mixed cargo needs

  • Precision guide rail and fastener system ensures secure locking and reliable alignment

  • Compact travel footprint with large, expanded capacity for road efficiency and site versatility

  • Scalable platform adaptable to light, medium, and heavy-duty truck chassis

  • Built with galvanized steel-grade housing to maximize durability and resist rust, corrosion, and harsh environmental conditions

  • Rapid reconfiguration reduces downtime between military missions or cargo delivery runs

  • Maintenance-friendly layout with easy access to actuators and guide systems

  • Built-in fastener rails for tie-downs, shelving, or mission-specific equipment integration

  • Easy to add weatherproofing and sealing options for sensitive or climate-controlled cargo

  • Reduces fleet size and operational costs by covering multiple payload profiles with one vehicle

  • Versatile platform engineered for both commercial logistics and military mission requirements

  • Able to minimize design to make the product ideal for toy, RC, and model manufacturers

 

PRODUCT DETAILS

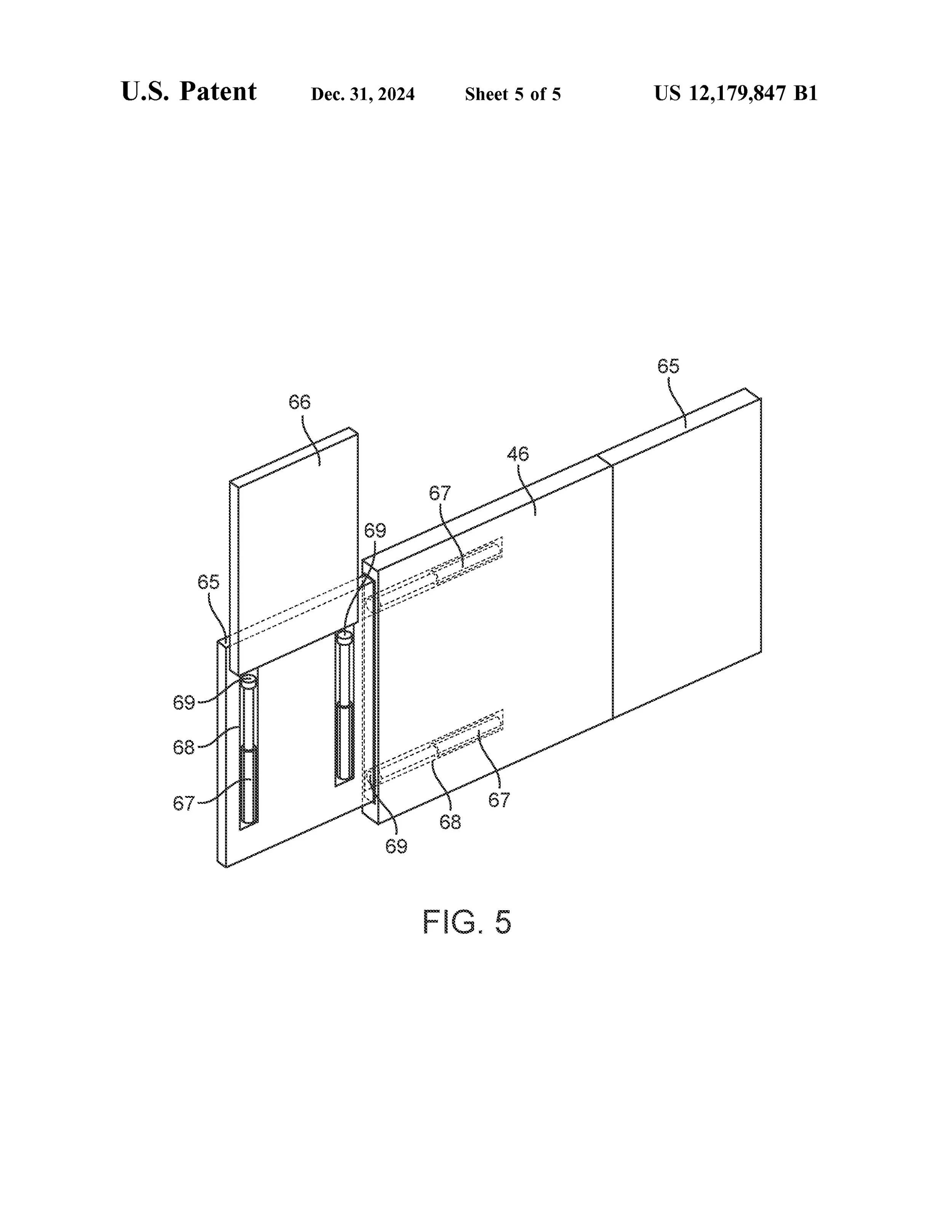
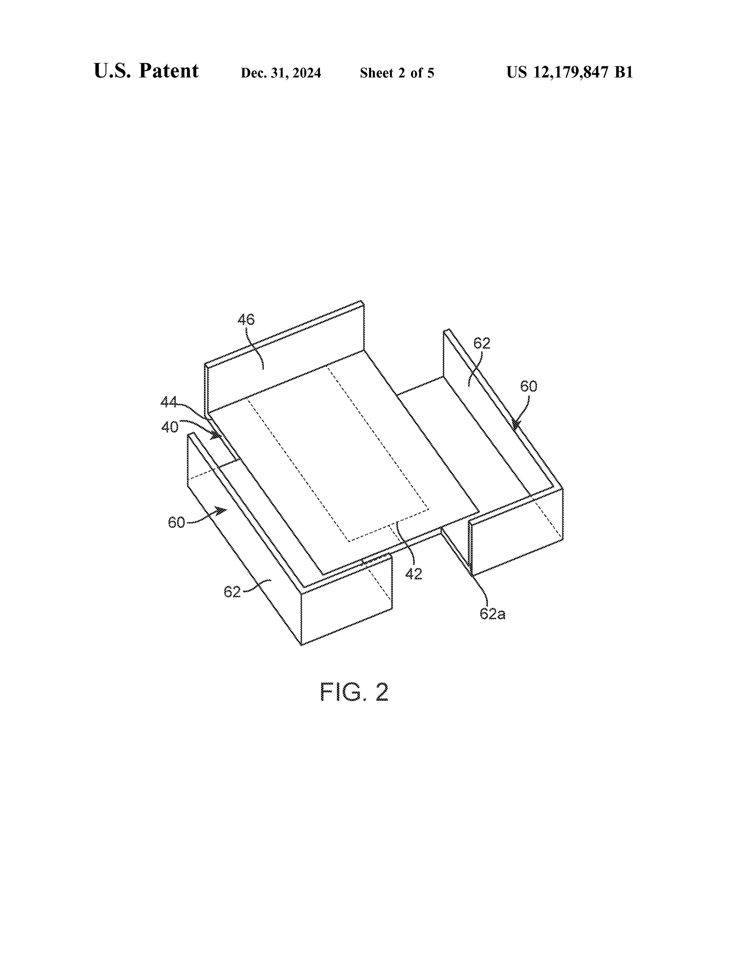
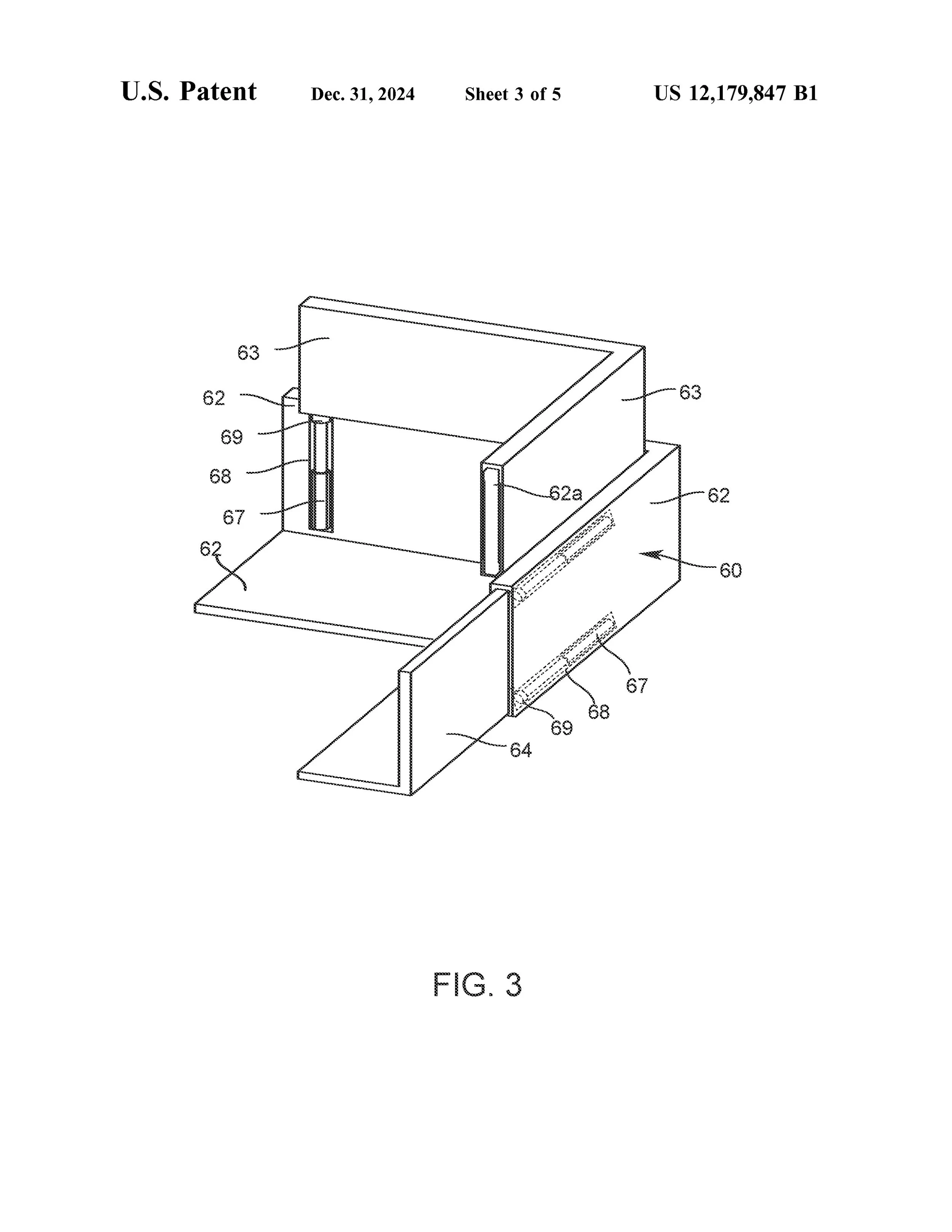
The Transport Vehicle with an Expandable Cargo Bay™ is engineered from the ground up as a rugged, mission-ready expandable cargo system. The core structure uses a galvanized steel-grade housing to maximize durability and resist rust, corrosion, and harsh environmental exposure. Precision guide rails and an integrated fastener-rail system form the mechanical backbone, keeping sliding panels square, aligned, and positively locked under vibration and heavy loads. This structural approach lets the Transport Vehicle with an Expandable Cargo Bay™ offer a compact travel footprint yet deliver a substantially larger usable bay when deployed. This makes this product ideal for operators who need high capacity on-site but low drag and profile on the road.

At the heart of the Transport Vehicle with an Expandable Cargo Bay’s™ motion is a hydraulically powered actuation suite paired with intelligent electronics. Telescoping hydraulic actuators handle the heavy lifting for height, width, and length expansion while digital valves and pressure sensing keep motions smooth and controlled. A centralized electronic control panel provides push-button operation and status readouts. The guide-rail geometry and fastener engagement are engineered for repeatable alignment so that every deployment results in consistent sealing, load-bearing capacity, and tie-down integrity

The Transport Vehicle with an Expandable Cargo Bay™ is simple and easy to operate through a system of hydraulic actuators connected to guide rails and slidable panels that allow the cargo bay to expand or contract along multiple axes. When activated, the actuators extend or retract the panels in coordination with the guide-rail system, ensuring proper alignment and secure engagement. Fastener rails and locking members hold the panels in place once extended, maintaining structural integrity under load and vibration. The expansion and retraction process is managed through an electronic control panel, which allows the operator to initiate and monitor movements. This design enables the cargo housing to transition between a compact form for travel and an expanded form for increased capacity with consistent and reliable operation. 

This product’s modularity opens immediate practical use-cases. For commercial fleets, one example is a regional carrier that carries palletized goods one day with the expanded width and length, then retracts for densely packed urban multi-stop deliveries the next. This sizing flexibility reduces deadhead trips and the need for multiple vehicle types. In military logistics, the Transport Vehicle with an Expandable Cargo Bay™ can convert from a troop-transport footprint to a palletized resupply bay or a communications or equipment shelter in the field, with rapid reconfiguration between mission legs. Emergency response teams can deploy a mobile clinic or supply hub at disaster sites, using the built-in fastener rails for shelving, stretchers, or refrigeration modules. And because the mechanism is scalable and the design can be minimized accordingly, toy and model manufacturers can create functional replicas that demonstrate these engineering concepts at consumer scale.

This product’s modularity opens immediate practical use-cases. For commercial fleets, one example is a regional carrier that carries palletized goods one day with the expanded width and length, then retracts for densely packed urban multi-stop deliveries the next. This sizing flexibility reduces deadhead trips and the need for multiple vehicle types. In military logistics, the Transport Vehicle with an Expandable Cargo Bay™ can convert from a troop-transport footprint to a palletized resupply bay or a communications or equipment shelter in the field, with rapid reconfiguration between mission legs. Emergency response teams can deploy a mobile clinic or supply hub at disaster sites, using the built-in fastener rails for shelving, stretchers, or refrigeration modules. And because the mechanism is scalable and the design can be minimized accordingly, toy and model manufacturers can create functional replicas that demonstrate these engineering concepts at consumer scale.

Materials needed to produce the Transport Vehicle with an Expandable Cargo Bay™:

  •   Galvanized steel or stainless steel

  • High-strength aluminum alloys

  • Reinforced composites or polymers

  • Hydraulic actuators and telescopic cylinders

  • Hydraulic pumps, valves, and hoses

  • Precision guide rails and fastener

  • Locking mechanisms and safety latches

  • Electronic control panel with buttons

  • Microcontrollers/PLC

  • Various sensors

  • Weatherproofing seals and gaskets

  • Paints, primers, and coatings

  • Fasteners

  • Bolts

  • Welds

  • Adhesives

The Transport Vehicle with an Expandable Cargo Bay™ can elevate your product portfolio to new heights. We are seeking a long-term arrangement with a company to manufacture, market, and/or distribute this new technology based on the acquisition of the intellectual property rights . Contact us below

Contact Us

Our VP of Business Development, Amy Schleicher, is ready to answer any questions you may have.

Phone: 913-201-8025

E-mail: Amy@bankonip.com

Patent Information

Patent 12,179,847

Inventor Highlight

Mr. Michael Ghaemi holds United States Utility Patent No. 12,179,847 filed on June 16th, 2022, and issued on December 31st, 2024.  This patent for the Transport Vehicle with an Expandable Cargo Bay™ expires in 2042, commensurate with the filing date. This patent has 15 claims that protect the exclusive design and function of the Transport Vehicle with an Expandable Cargo Bay™.

Social Media

Follow us in real time! Stay connected.

Safety first is safety always.”
— -Charles M. Hayes