You Are Not Alone
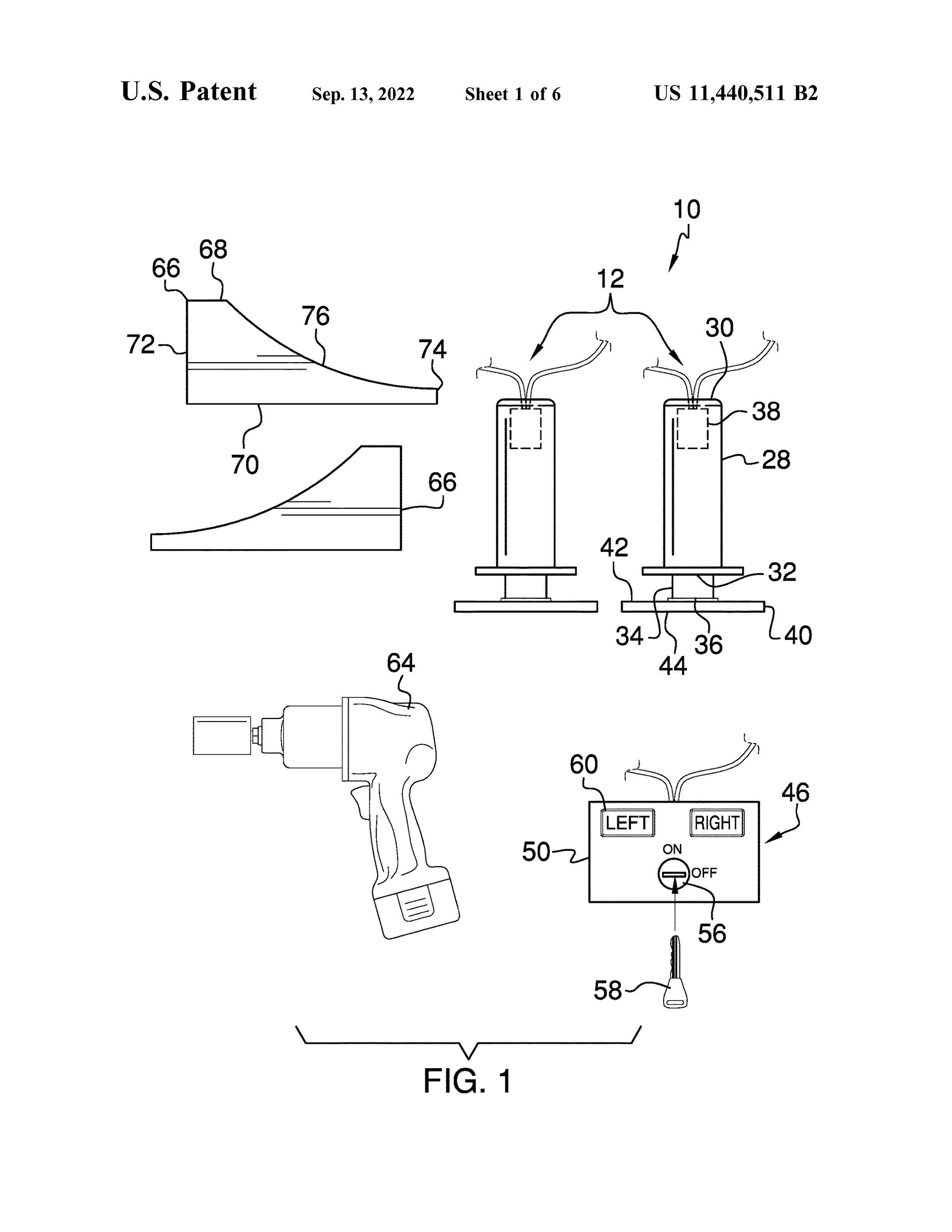
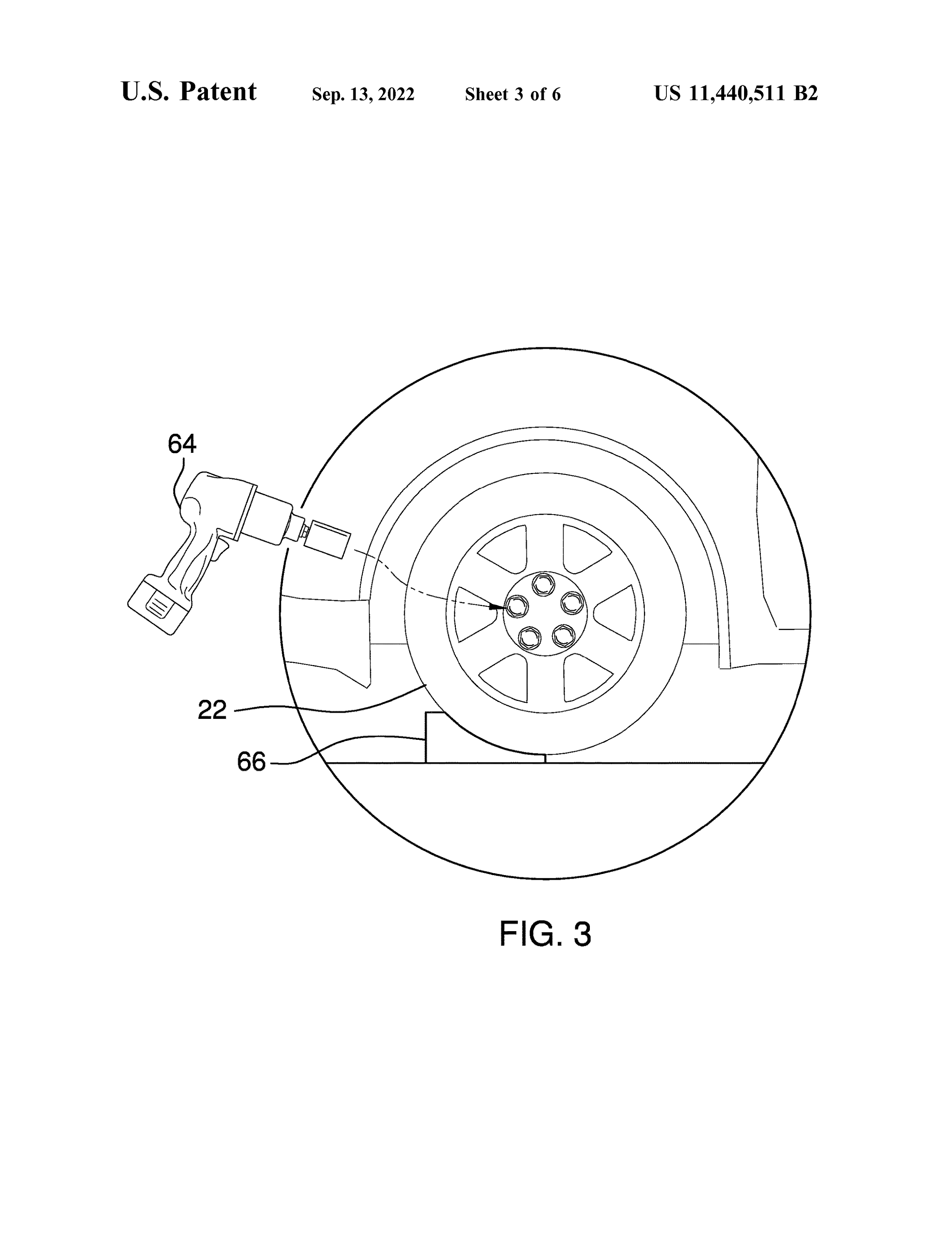
The You Are Not Alone tool is an advanced, integrated vehicle jacking system that allows a driver to lift their vehicle with ease and safety, eliminating the need for manual jacks and physical labor. The system includes multiple electric jacks that are permanently mounted to the underside of the vehicle. These jacks are capable of lifting either the driver’s side or the passenger’s side, making them ideal for changing tires or performing roadside maintenance. The lifting process ensures consistent, balanced elevation and reduces the risk of improper setup or instability that can occur with traditional jacks.
The You Are Not Alone is the answer.
Designed for reliability and convenience, the You Are Not Alone is always ready to assist in both emergency situations and everyday maintenance tasks. Its integrated design means it is always with you, built into your vehicle, and ready at a moment’s notice. Whether you’re on the side of the road or in your driveway, this system offers a safer, quicker, and more efficient way to lift your vehicle.
PRODUCT FEATURES & BENEFITS
Special features
Built-in electric jacks
Side selective lifting
12V power integration
In-vehicle control unit
Wireless remote control
Automatic leveling and safety controls
Included electric impact wrench
Wheel chocks for added safety
Compact, always available design
Weather-resistant components
PRODUCT DETAILS
The You Are Not Alone system is engineered with a powerful electrical jack assembly integrated directly into the vehicle’s chassis. These jacks are designed to lift either side of the vehicle with minimal effort, providing stable, reliable support for tire changes or undercarriage inspections. The jacks operate using a 12V electrical system, drawing power from the vehicle’s battery, and are robust enough to handle the weight of most passenger vehicles and light trucks.
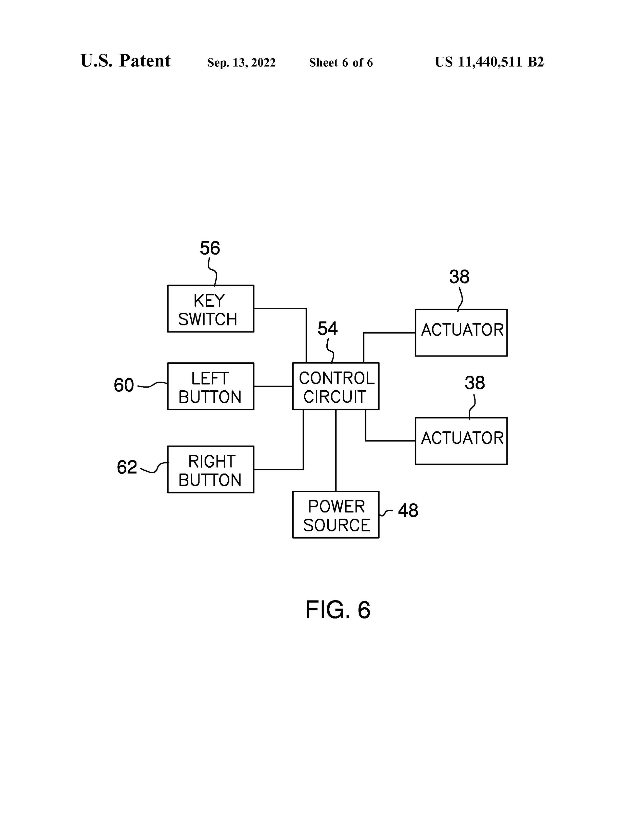
Control and convenience are central to the You Are Not Alone experience. The system includes a wireless remote control, allowing users to activate or retract the jacks from inside the vehicle or nearby, making it especially useful in inclement weather or roadside emergencies. Behind the scenes, a set of advanced electrical control components coordinates the operation of the jacks, ensuring safe and balanced lifting. These components include limit switches, circuit protection elements, and a control module that prevents overextension or misalignment.
To complete the tire-changing solution, the system comes with a high-torque electric impact wrench. This tool is specifically chosen for its compatibility with the system, enabling quick and easy removal of lug nuts without manual effort. Stored conveniently within the vehicle, it connects directly to the 12V power supply for immediate use. With this comprehensive setup, the You Are Not Alone offers not just vehicle lifting, but a full-service, integrated approach to on-the-road tire maintenance.
Materials needed to produce the You Are Not Alone:
Electrical jack
Remote control
Various electrical control parts
Impact wrench







The You Are Not Alone can elevate your product portfolio to new heights. We are seeking a long-term arrangement with a company to manufacture, market, and/or distribute this new technology based on the acquisition of the intellectual property rights . Contact us below
Contact Us
Our VP of Business Development, Amy Schleicher, is ready to answer any questions you may have.
Phone: 913-201-8025
E-mail: Amy@bankonip.com
Patent Information
Patent 11,440,511
Inventor Highlight
Samual Walker is an experienced shipbuilder and welder known for his precision craftsmanship and dedication to marine engineering. With over a decade in the industry, he specializes in structural welding, hull fabrication, and maintenance for both commercial and naval vessels. Samual brings a strong work ethic, attention to detail, and deep knowledge of ship construction standards to every project he undertakes.
Social Media
Follow us in real time! Stay connected.
“Safety first is safety always.” ”